Fluidised Bed
In a Fluidised Bed incinerator, a bed of sand, combustion ash, and waste particles are suspended in an upward flowing airstream, such that the mixture behaves as a fluid. The high turbulence created enhances combustion and promotes efficient heat transfer and uniform mixing. The hydrodynamics of Fluidised Bed reactors is quite complex. Fluid properties (e.g., density and viscosity) as well as solid phase properties (e.g., density, size and shape and cohesion/adhesiveness) play a significant role in fluidization behaviour. Fluidised Bed incineration is adaptable to a wide variety of wastes[1].
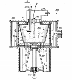
Reactor Design and Process

The Fluidised Bed incinerator is lined with a combustion chamber usually in the form of a vertical cylinder. In the lower section, a bed of inert material (sand or ash) on a grate or distribution plate is fluidised with preheated combustion of air. The waste for incineration is continuously fed into the fluidised sand/ash bed from the top or side through a pump, star feeder, screw-tube conveyor, apron conveyor or weighting band.
In the Fluidised Bed, drying, volatilisation, ignition, and combustion take place. The temperature in the free space above the bed (the freeboard) is generally between 850°C and 950°C. Above the Fluidised Bed material, the freeboard is designed to allow a sufficient residence time of the gases in the combustion zone. In the bed itself, the temperature is lower at approximately 650°C due to good mixing in the reactor, Fluidised Beds generally have a uniform temperature and oxygen concentration which results in stable operation. The heat produced by combustion can be recovered by devices either integrated inside the Fluidised Bed or at the exit of the combustion gases or by the combination of these designs[2].
Waste Input
Fluidised Bed incinerators process finely divided waste such as RDF and sewage sludge and have been widely used for decades for the combustion of homogenous fuels including coal, raw lignite, sewage sludge and biomass. Waste input for Fluidised Bed reactors must be uniform and small. So, for heterogeneous wastes, Fluidised Bed combustion requires the selection and pre-treatment of the waste so that it conforms with size specifications. Pre-treatment consists of sorting, crushing, and shredding to ensure particle size of less than 300mm and also the removal of metals. However, the pre-treatment of waste for Fluidised Beds can be overcome by the selective collection of wastes and the development of quality standards for RDF so that waste is homogeneous[2].
Types of Fluidised Bed
The three types of Fluidised Bed incinerators are used for waste incineration according to gas speeds and the design of the nozzle plate/bed surface. These are: stationary/or bubbling fluidised bed, rotating fluidised bed and circulating fluidised bed.
Stationary/Bubbling Fluidised Bed

The stationary/bubbling Fluidised Bed incinerator consists of a cylindrical or rectangular lined incineration chamber, a nozzle plate/bed surface and a start-up burner. Preheated air flows up through a distribution plate and fluidises the bed material. Depending on the application, various bed materials (silica sand, basalt, mullite etc) and bed particle sizes (approximately 0.5-3mm) can be used. The waste can be loaded via the head, on the sides with belt-charging machines, or directly injected into the Fluidised Bed. In the bed, the waste is mixed with hot bed material/sand, dried and partially incinerated. The remaining fractions (volatile and fine particles) are incinerated above the Fluidised Bed in the freeboard/secondary incineration chamber. The remaining ash is removed with the flue gas at the head of the furnace[2].
Stationary/bubbling Fluidised Bed incinerators are used in the treatment of sewage sludge, other industrial sludges such as petrochemical and chemical industry sludges and wastes from the wastewater treatment process (e.g., swim scum, screenings, and extracted fats). Plants receiving partially dried sludge require less additional fuels than plants receiving raw sludges. In addition, coal and plastic solid waste can be processed[1].
Rotating Fluidised Bed

The rotating Fluidised Bed incinerator is a development of the stationary/bubbling bed for waste incineration. The Fluidised Bed is rotated, which results in a longer residence time in the incineration chamber, combined with the uneven distribution of primary air over the distributor to create an imposed mixing pattern, allows for the treatment of a wide range of waste types and sizes. These include sludge, MSW and industrial waste after minimal pre-treatment[1]. The inclined nozzle plates/bed surface, wide bed ash extraction chutes and upsized feeding and extraction screws are specific features to ensure reliable handling of solid waste. Temperature control within the refractory-lined combustion chamber (bed and freeboard) is by flue gas recirculation. This allows the incineration of fuels with a wide range of calorific values[2].
Circulating Fluidised Bed

The circulating Fluidised Bed incinerator recirculates the bed material/feedstock using a hot cyclone. It works with fine bed material and at high gas speeds that remove most of the solid material particles from the Fluidised Bed chamber with the flue gas. The particles are then separated in a downstream cyclone and returned to the bottom of the incineration chamber. Particles below the cut-size of the cyclone (ash) are removed from the reactor.
The advantage of this process is that a high heat turnover and a more uniform temperature along the height can be reached with a low reaction volume. A wider range of waste inputs can be treated. The waste is injected at the side into the incineration chamber and is incinerated at 850-950°C. The surplus heat is removed through membrane walls and via heat exchangers placed between the recycling cyclones and the circulating Fluidised Bed, which cool the returned ash as a way to control heat removal[2].